EN
产业资讯 政策法规 研发追踪 医改专题
国内进展最快的抗肿瘤化药管线,你 pick 谁?
产业资讯 Insight数据库 2022-03-18 5124

去年 7 月,Insight 整理发布了国内进展最快的 31 条临床阶段生物药管线,这些新药作为处于 III 期研发阶段的药物,离报上市仅有一步之遥。

半年过去,其中 2 款 PD-L1 单抗已经申报上市。而据 Insight 数据库 最新数据,又有 9 款抗体新药在这半年内新进入 III 期临床,国内新药开发充满活力。

2021 年 7 月以后进入 III 期临床阶段的抗体新药

来自:Insight 数据库 项目进度模块(http://db.dxy.cn/v5/home/)

*注:II/III 期临床和 I/III 期临床项目进度以 III 期统计

今日,我们从企业和靶点的维度盘一盘国内药企处于临床 III 期开发中的抗肿瘤化药。

靶点 Top3:ALK、EGFR、CDK4/6

以靶点维度统计,临床 III 期阶段化药中竞争最热的是 ALK、EGFR 和 CDK4/6 靶点。这些靶点的共同特点是已有上市药物,后来者也不少,所有在研新药均在 20 个以上的规模。比拼产品临床效果、适应症开发策略和企业推广能力等多方面综合能力显得尤为重要。

ALK

ALK 靶点目前共有 4 款处于临床 III 期的国产新药,分别来自首药控股、正大天晴、四环医药和复星医药。

CT-707(Conteltinib,SY-707)是由首药控股完全自主研发的一款二代 ALK 抑制剂,对 ALK、FAK、PYK2、IGF1R 等激酶均具有良好的抑制效果,其规格与其他 ALK 抑制剂(多为片剂/胶囊)略有差异,为颗粒剂。其主要开发适应症为 ALK 阳性 NSCLC。

目前,CDE 已同意 CT-707 的二线适应症在完成 II 期临床、达到预期结果后附条件报上市,首药预计在 2022 年 NDA;而正在进行中的 III 期临床则针对一线适应症,与一代 ALK 抑制剂克唑替尼做头对头有效试验评估,预计在 2022Q1 完成入组,2023 年 NDA。除此之外,2 月份该药还获批临床,将联合君实生物的 PD-1 单抗特瑞普利单抗启动针对胰腺癌的 Ib/II 期临床试验。

CT-707 注册临床登记

来自:Insight 数据库 (http://db.dxy.cn/v5/home/)

首药控股还同时拥有一款三代 ALK 抑制剂 CT-3505(SY-3505)。CT-3505 是基于 SY-707 分子的母核结构进一步优化支链分子结构得到的全新 ALK 抑制剂,对于第一代和第二代 ALK 抑制剂耐药的关键 ALK 突变体依然具有良好的抑制作用;也是国内第一个进行临床试验的国产三代 ALK 抑制剂。

据 Insight 数据库 显示,目前该项目正处于 I 期研发阶段,主要用于治疗一、二代 ALK 抑制剂耐药的 ALK 阳性非小细胞肺癌。目前该药已经在临床 I 期研究的耐药患者中初见疗效。

CT-3505 研发重要节点

正大天晴同样拥有两款 ALK 抑制剂 TQ-B3139 和 TQ-B3101,前者进展较快已经处于 III 期临床阶段,而后者共启动了 3 项 II 期临床,最早起始于 2019 年。

TQ-B3139(CT-1139)是正大天晴与首药控股联合开发的 c-Met/ALK/ROS 多靶点酪氨酸激酶抑制剂,由首药控股负责化合物分子的设计与优化,经过验证的临床前候选化合物转交天晴进行临床阶段开发,双方共同享有知识产权。

根据 Insight 数据库,从适应症临床开发上,TQ-B3139 与其他 ALK 抑制剂一致,进展最快的 III 期临床旨在比较该药与克唑替尼治疗 ALK 阳性晚期 NSCLC 的疗效和安全性,II 期临床则针对两项适应症:克唑替尼耐药后的 ALK 阳性晚期 NSCLC,以及 MET 基因异常 NSCLC

同时并行开发的另一款 ALK/MET/ROS1 抑制剂 TQ-B3101 的适应症开发与 TQ-B3139 略有区别,2 期临床针对 ROS1 融合阳性晚期 NSCLC(CTR20191078)。该项临床研究由陆舜教授和潘宏铭教授担任主要 PI,已经入选 2022 欧洲肺癌大会(ELCC),独立评审委员会(IRC)评估的 ORR 为 78.4%,mPFS 为 15.6 个月。

正大天晴 ALK 抑制剂原研药

来自:Insight 数据库 (http://db.dxy.cn/v5/home/)

XZP-3621 由四环医药子公司轩竹生物开发,属于新一代 ALK/ROS1 双靶点抑制剂,拟开发用于治疗非小细胞肺癌。体外研究结果显示,XZP-3621 对第一代、第二代 ALK 抑制剂多个耐药位点活性优异。在临床前体内药效模型研究中,XZP-3621 也显示出了良好的药效。

已有临床研究结果表明:XZP-3621 对 ALK 抑制剂初治和经治的 ALK 重排的晚期 NSCLC 患者均显示有确切疗效,并具有更好的安全性。Insight 数据库 显示,轩竹生物已经在 2021 年 11 月启动针对 ALK 阳性晚期非小细胞肺癌患者一线治疗的 3 期临床试验。

III 期临床试验详情

来自:Insight 数据库 (http://db.dxy.cn/v5/home/)

复瑞替尼(代号:SAF-189)是复创医药开发的一款具有口服活性的 ALK/ROS1 小分子抑制剂,拟开发用于治疗 ALK 阳性或 ROS1 阳性非小细胞肺癌。ALK 和 ROS1 基因重排是晚期非小细胞肺癌重要的预测性生物标志物和致癌驱动因子。2021 年 12 月,复瑞替尼在 CDE 临床试验平台登记启动了一项多中心、开放标签、随机对照的 3 期临床研究,以对比候选药和对照药在初治 ALK 阳性晚期或转移性非小细胞肺癌患者中的疗效和安全性。

公开资料显示,在早期研究中,丁二酸复瑞替尼对 ALK/ROS1 耐药性突变表现出较强的药效,具有较好的抗肿瘤作用,且高度靶向于脑、肺和肿瘤组织,具有良好的药代动力学特征和安全性。

据 Insight 数据库 显示的靶点竞争格局,ALK 靶点在国内已有 4 款新药获批上市:一代 ALK 抑制剂克唑替尼,二代 ALK 抑制剂塞瑞替尼、阿来替尼、恩沙替尼。此外,还有两款二代 ALK 抑制剂布格替尼和伊鲁阿克、一款三代 ALK 抑制剂劳拉替尼申报上市,总体而言领先地位主要还由外企占据。

国产创新药中贝达药业的恩沙替尼取得了首个突破,在 2020 年 11 月获批上市,目前一线疗法新适应症也在上市申请 中,据贝达官方披露,前三季度恩沙替尼获得了 1.2 亿元的销售收入。齐鲁制药的伊鲁阿克为第 2 款国产 ALK 抑制剂,去年 7 月也提交了新药上市申请 。

ALK 靶点国内竞争格局

EGFR

EGFR 抑制剂已经从一代发展至了四代,并衍申出针对 Exon20 插入突变等罕见突变的选择性抑制剂。

EGFR 靶点层级(Insight)

*Insight 数据库内收录不同层级靶点在研新药,可直接查看 EGFR 下各细分靶点竞争格局,包括 EGFR-T790M。

三代 EGFR-TKI 的内卷程度几乎是众所周知,去年 4 家国内药企提交了新药上市申请,而获批上市也已经有 3 款:阿斯利康的奥希替尼、翰森制药的阿美替尼和艾力斯的伏美替尼,均已纳入医保。不过非小细胞肺癌领域的庞大市场潜力仍然使企业前赴后继开发针对这一适应症的药物。

三代 EGFR 抑制剂国内竞争格局

处于 III 期临床的 4 款 EGFR 抑制剂包括两款三代 EGFR 抑制剂,来自正大丰海的 FHND9041,和来自润新生物的 RX518(olafertinib)。

东阳光药开发的莱洛替尼和华东医药开发的迈华替尼均为 EGFR/HER2 抑制剂,不过两家企业的临床开发策略完全不同。据 Insight 数据库,东阳光药瞄准食管癌,目前共启动了 8 项莱洛替尼的临床试验,III 期临床在 2020 年 5 月启动,对比化疗治疗至少经二线治疗失败、 EGFR 过表达的晚期食管鳞癌;而华东医药则集火 NSCLC,III 期临床对比吉非替尼一线治疗 EGFR 敏感突变晚期非鳞 NSCLC;二期临床还考察了治疗 EGFR 罕见突变(G719X,L861Q,S768I)的晚期 NSCLC。

CDK4/6

CDK4/6 抑制剂的竞争情况与前述两个靶点类似,国产新药只有恒瑞医药的达尔西利在去年 12 月 31 日获批上市。先声药业的曲拉西利也提交了上市申请(受理号:JXHS2101087),不过与其他 CDK4/6 抑制剂采取迥异的适应症设计。

同样看处于 III 期阶段的在研项目,其竞争激烈程度更甚于前两个靶点,国产药高达 5 个之多。嘉和生物、四环制药、复星医药、正大天晴和必贝特 5 家企业最新进展时间相差不大,从 2021 年 8 月至 2022 年 2 月陆续进入到 III 期阶段,预计之后将迎来一波 CDK4/6 抑制剂的密集 NDA。

CDK6 抑制剂国内竞争格局

来自:Insight 数据库 靶点模块(http://db.dxy.cn/v5/home/)

面对同质化竞争加剧、仿制药已经登场的境况,国产 CDK4/6 抑制剂上市后前景如何还待时间的检验。(Insight 往期文章:三大 CDK4/6 抑制剂去年全球销售额 70 亿美元!国内仿制药已获批,新药还香吗?)

正大天晴领跑,恒瑞、复星、华东…有望迎来 NDA 爆发期

从企业维度来看,正大天晴拥有最多的 III 期阶段抗肿瘤化药,3 款产品分别为 ALK 抑制剂、三代 EGFR-TKI 和 CDK4/6 抑制剂,均在前述三大热门靶点之列,在此不再赘述。据 Insight 数据库 显示,目前该集团拥有 7 个 III 期临床项目,11 个 II 期临床项目,47 个 I 期临床项目。

中国生物制药新药项目研发阶段分布

来自:Insight 数据库 企业分析模块(http://db.dxy.cn/v5/home/)

天晴之外,恒瑞医药、华东医药和四环医药也各有 2 个抗肿瘤化药 III 期阶段项目,详见下表:

重点企业 III 期临床阶段抗肿瘤化药项目(*补充:普那布林已申报上市)

恒瑞医药

苹果酸法米替尼胶囊是恒瑞医药自主研发的小分子多靶点酪氨酸激酶抑制剂。对多种受体酪氨酸激酶如 c-Kit、VEGFR1/2/3、PDGFRα/β、FGFR2/3 等有很好的抑制活性,属于多靶点抗血管生成靶向药。据 Insight 数据库,法米替尼的首个 IND 申请早在 2008 年就已经递交,目前已登记临床试验数高达 36 项。联用卡瑞利珠单抗,法米替尼已经开展了 12 项临床试验,适应症涉及 NSCLC、宫颈癌、泌尿系统肿瘤、妇科肿瘤等实体瘤。

普那布林是恒瑞医药在 2021 年 8 月 26 日与万春药业达成 13 亿元合作引进的产品,是一种 First-in-Class 免疫抗肿瘤药物,通过激活免疫防御蛋白鸟嘌呤核苷酸交换因子(GEF-H1),加速树突状细胞(DC 细胞)的成熟及促进抗原呈递,直接激活 T 细胞来杀死肿瘤细胞,起到「免疫系统的点火剂」的作用。此外,普那布林还可以阻止由化疗药物诱导的骨髓中性粒细胞的损伤,达到早期保护作用,以一个不同于 G-CSF(粒细胞集落刺激因子)的作用机制预防早期 CIN(化疗引起的中性粒细胞减少症)。

普那布林与 G-CSF 的机制存在互补性,且能与企业的肿瘤管线形成良好协同。其研发过程中获得多项认可:FDA 和 NMPA 都授予其突破性疗法认定,中美同步提交新药上市申请(NDA)后被两国监管机构纳入优先审评审批。

然而,在去年 12 月 1 日,万春药业宣布收到 FDA 的完整回复函(CRL),认为普那布林的 3 期注册临床(106 研究)不足以支持其上市申请,需要补充额外的临床试验以证明临床获益。消息发布后,万春药业暴跌 60% 以上。恒瑞也迅速发布公告做澄清说明表示,恒瑞已向万春支付 2 亿元的首付款,但尚未参与到临床开发当中;而此前达成的 1 亿元股权投资也尚未完成缴款和股权交割。

华东医药

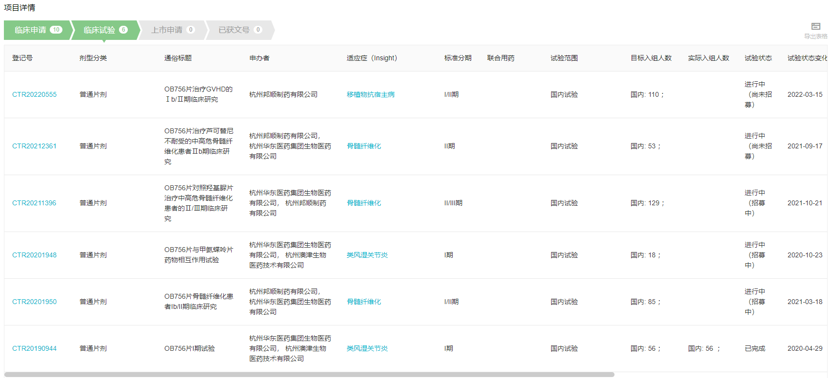
华东医药除了 EGFR/HER2 抑制剂迈华替尼之外,还开发了 JAK2 抑制剂 OB756(邦瑞替尼)。JAK 抑制剂通过靶向抑制 JAK2 V617F 的激酶活性,阻断 JAK/STAT 信号传导途径,从而发挥治疗作用。根据 OB756 在骨髓纤维化患者中已开展的一项临床研究,超过 50% 的受试者在 24 周的脾脏体积较基线缩小 ≥35%,显著优于同类已上市药物的疗效。此外,OB756 在减轻骨髓纤维化患者的体质性症状,提高患者的生存质量方面也表现出良好的作用。

据 Insight 数据库,OB756 在 2018 年首次递交 IND 申请,2019 年首次启动临床,目前登记了 6 项临床试验,涉及适应症还包括类风湿关节炎、移植物抗宿主病。

OB756 项目详情

来自:Insight 数据库 项目进度模块(http://db.dxy.cn/v5/home/)

您可能感兴趣
超额认购超6238倍,旺山旺水今日港股上市
超额认购超6238倍,旺山旺水今日港股上市
产业资讯 药时代 2025-11-07 155
千亿万金油资产,被大厂疯抢
千亿万金油资产,被大厂疯抢
产业资讯 瞪羚社 2025-11-07 142