研发追踪
丁香园Insight数据库
2026-04-28
15
4 月 27 日,阿斯利康宣布,NMPA 已正式批准「曲麦利尤单抗」联合「度伐利尤单抗」用于晚期或不可切除的肝细胞癌(HCC)成人患者的一线治疗适应症在中国上市。

截图来源:企业官微
曲麦利尤单抗(曾用名:替西木单抗)是阿斯利康开发的一款 CTLA4 单抗。
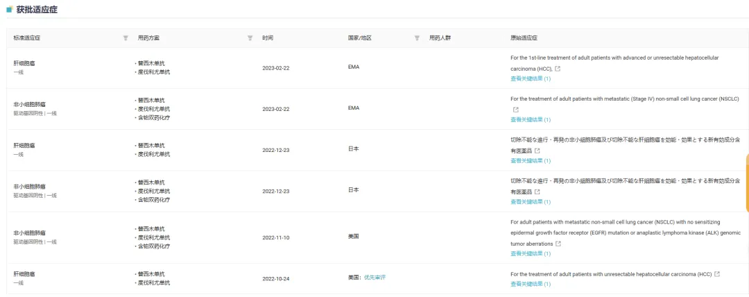
Insight 数据库显示,该药最早于 2022 年 10 月首次获美国 FDA 批准上市,商品名为 Imjudo,联合度伐利尤单抗(Imfinzi)一线治疗不可切除的 HCC 成人患者,成为全球第 2 款获批上市的 CTLA4 单抗;后于同年 12 月和次年 2 月又陆续在日本、欧盟获批上市。
目前,该联合疗法在全球获批有两项适应症,除 HCC 之外,还可联用含铂双药化疗治疗驱动基因阴性转移性的 NSCLC 成人患者。

截图来自:Insight 数据库
该联合疗法在中国的上市申报最早递交于 2024 年 10 月,2026 年 4 月正式获批首个适应症,和含铂化疗用于表皮生长因子受体(EGFR)敏感突变阴性和间变性淋巴瘤激酶(ALK)阴性的转移性 NSCLC 的一线治疗;2025 年 2 月递交一项新适应症上市申请,即本次获批适应症。
本次新适应症的批准是基于全球 III 期 HIMALAYA 研究及中国队列的积极结果。
HIMALAYA 是一项随机、开放标签、全球多中心 III 期临床,评估了 Imfinzi 单药、Imfinzi 联用 Imjudo 与索拉非尼相比一线治疗肝细胞癌的疗效和安全性。其中 Imfinzi 和 Imjudo 联合疗法使用被称为 STRIDE 方案的给药方式,首次给药仅应用一剂 Imjudo(300mg)+ Imfinzi(1500mg),随后每 4 周一次给药 Imfinzi。
全球队列数据显示,与索拉非尼单药相比,STRIDE 方案可将患者的死亡风险显著降低 22%(风险比 [HR] 0.78)。STRIDE 联合治疗组患者的中位 OS 为 16.4 个月,而索拉非尼组为 13.8 个月。度伐利尤单抗单药治疗相比于索拉非尼表现出非劣的 OS 获益(HR 0.86),预设非劣效性界值为 1.08(基于 95.67% CI 上限),度伐利尤单抗单药组中位 OS 为 16.6 个月。
HIMALAYA 研究中国队列分析显示,STRIDE 方案长期获益趋势明显,且与全球获益趋势一致。
STRIDE 联合治疗组中位 OS 为 25.3 个月,较索拉非尼组(中位 OS 为 14.1 个月)延长超过 11 个月,死亡风险降低 40%(HR=0.60;95% CI, 0.42-0.84),3 年 OS 率达 40.6%,约为索拉非尼对照组的两倍。
在安全性方面,STRIDE 方案与度伐利尤单抗单药治疗均展现出良好的安全性和耐受性。数据显示,STRIDE 方案组与度伐利尤单抗单药组的三级及以上治疗相关不良事件(TRAE)发生率分别为 24.1% 和 12.4%,均低于索拉非尼组的 40.2%。
Insight 视角
CTLA4 是首个获得验证上市的免疫检查点,全球首款「伊匹木单抗」来自百时美施贵宝(BMS),在 2011 年就获批上市,早于 PD-1「药王」(2014 年度获批)。
其与 PD-1 单抗的联合疗法已经在肾细胞癌、结直肠癌、肝细胞癌、NSCLC、胸膜间皮瘤、食管鳞癌、黑色素瘤等多个癌种中获得监管批准。
不过在中国内地,目前仅获批胸膜间皮瘤、结直肠癌、肝细胞癌、NSCLC(PD-L1 TPS ≥1%)这 4 项一线适应症。

截图来源:Insight 数据库
因其适用的癌种之多,CTLA4 靶点的商业化潜力也相当优秀,各大药企也纷纷采取不同策略进行开发。
2025 年 12 月,由信达生物开发的伊匹木单抗 N01 注射液(研发代号:IBI310)获得 NMPA 批准上市,成为首个获批的中国研发的 CTLA-4 单抗。
尽管已获批 CTLA4 单抗有伊匹木单抗、伊匹木单抗 N01 和曲麦利尤单抗,但作为 PD-(L)1 的经典搭档,全球药企正在积极开发 PD-(L)1 与 CTLA4 的混合抗体和双特异性抗体。
Insight 数据库显示,在国内,齐鲁制药的混合抗体「艾帕洛利单抗/托沃瑞利单抗」和康方生物的双特异性抗体「卡度尼利单抗」均已获批上市。而在临床 III 期阶段的玩家集聚众多,如阿斯利康自身也开发有一款 PD-1/CTLA4 双抗「沃苏米单抗」,默沙东也开发有 K 药+齐沃利单抗的混合抗体,康宁杰瑞开发有 PD-L1/CTLA4 双抗 Erfonrilimab 等。同时,多款皮下制剂也正在开发当中。
本次「曲麦利尤单抗」联合「度伐利尤单抗」的双重免疫疗法获批新适应症,肝细胞癌患者得以在临床上获得一种新兴治疗方案。
研发追踪
医麦客
2026-04-28
13
研发追踪
丁香园Insight数据库
2026-04-28
15
研发追踪
罕见病信息网
2026-04-27
181
热门资讯